OEM ЗАПЧАСТИ

  info@automotohub.ru   8 (916) 294-84-77
  О Компании   Оплата и Доставка   Помощь   Обратная связь

FOG LAMPS

для Ford EXP (1988) Base 1.9L L4 - Gas
Ford
FOG LAMPS
#кодцена
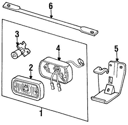
1
E6FZ15200A
Деталь FOG LAMP ASSY
E150-350 VANS; MARCHAL
узнать
цену
узнать цену
2
D9ZZ15L203A
Линза
PARTS: Parts included in fog lamp assembly.
узнать
цену
узнать цену
3
D9ZZ13466A
Деталь BULB
узнать
цену
узнать цену
4
D9ZZ15202A
Деталь BODY
узнать
цену
узнать цену
5
E6FZ15266A
Деталь FOG LAMP ASSY MOUNT BRACKET, RIGHT
узнать
цену
узнать цену
5
E6FZ15266B
Деталь FOG LAMP ASSY MOUNT BRACKET, LEFT
узнать
цену
узнать цену
6
E6FZ15K216A
Спинка
узнать
цену
узнать цену
{modalWnd}