OEM ЗАПЧАСТИ

  info@automotohub.ru   8 (916) 294-84-77
  О Компании   Оплата и Доставка   Помощь   Обратная связь

TAIL LAMPS

для Dodge Charger (2016) R / T 5.7L V8 - Gas
Dodge
TAIL LAMPS
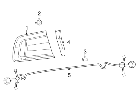
#кодцена
1
57010414AB
Деталь TAIL LAMP ASSY, RIGHT
узнать
цену
узнать цену
1
57010415AB
Деталь TAIL LAMP ASSY, LEFT
узнать
цену
узнать цену
2
6102398AA
Деталь MIRROR ASSY NUT, RIGHT
узнать
цену
узнать цену
3
5113360AA
Деталь TAIL LAMP GROMMET, LEFT
2 WAY
узнать
цену
узнать цену
{modalWnd}