OEM ЗАПЧАСТИ

  info@automotohub.ru   8 (916) 294-84-77
  О Компании   Оплата и Доставка   Помощь   Обратная связь

ENGINE & TRANS MOUNTING

для Dodge Colt (1994) Base 1.8L L4 - Gas
Dodge
ENGINE & TRANS MOUNTING
#кодцена
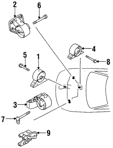
1
MB844840
Деталь STRUT
MIRAGE; AUTO TRANS; RIGHT; 1.5L, SOHC
узнать
цену
узнать цену
2
MB691251
Деталь SIDE MOUNT
MIRAGE; LEFT; MANUAL TRANS; 1.5L, SOHC
узнать
цену
узнать цену
3
MB949798
Деталь FRONT MOUNT
MIRAGE; W/O POWER STEERING; AUTO TRANS; 1.8L, SOHC
узнать
цену
узнать цену
3
MB949799
Деталь FRONT MOUNT
MIRAGE; W/POWER STEERING; AUTO TRANS; 1.8L, SOHC
узнать
цену
узнать цену
4
MB691238
ОПОРА ДВИГАТЕЛЯ ЛЕВАЯ
MIRAGE; AUTO TRANS; LEFT; 1.5L, SOHC
узнать
цену
узнать цену
5
MF140273
БОЛТ ТЯГИ ОПОРЫ ДВИГАТЕЛЯ
3.8 LITER, 10X75
узнать
цену
узнать цену
7
MD171367
ШПИЛЬКА КРЕПЛЕНИЯ ДВИГАТЕЛЯ
PARTS: Part included with front mount bracket.
узнать
цену
узнать цену
{modalWnd}