| # | код | цена |
|---|---|---|
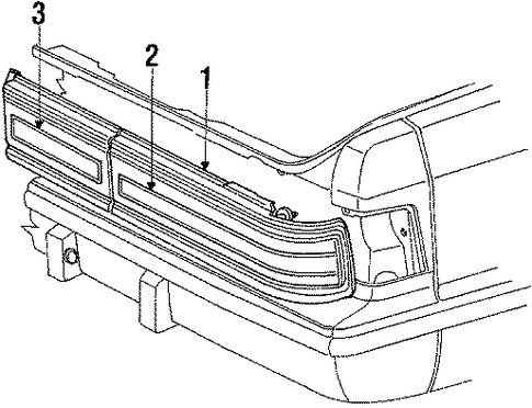
| 1 | 4399868 Деталь TAIL LAMP ASSY, RIGHT | узнать ценуузнать цену |
| 1 | 4399869 Деталь TAIL LAMP ASSY, LEFT | узнать ценуузнать цену |
| 2 | 4399106 Деталь LENS, RIGHT | узнать ценуузнать цену |
| 2 | 4399107 Деталь LENS, LEFT | узнать ценуузнать цену |
| 3 | 4399114 Деталь APPLIQUE | узнать ценуузнать цену |
| N/A | узнать ценуузнать цену | |
| N/A | узнать ценуузнать цену | |
| N/A | 4399868 Деталь TAIL LAMP ASSY, RIGHT | узнать ценуузнать цену |
| N/A | 4399869 Деталь TAIL LAMP ASSY, LEFT | узнать ценуузнать цену |
| N/A | узнать ценуузнать цену | |
| N/A | узнать ценуузнать цену |