OEM ЗАПЧАСТИ

  info@automotohub.ru   8 (916) 294-84-77
  О Компании   Оплата и Доставка   Помощь   Обратная связь

Вентилятор охлаждения

для Dodge Spirit (1992) R / T 2.2L L4 - Gas
Dodge
Вентилятор охлаждения
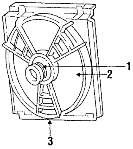
#кодцена
1
4401958
Вентилятор
4 CYLINDER, ALL
PARTS: Order by year & stamping number.
узнать
цену
узнать цену
2
4546541
Деталь MOTOR
4 CYLINDER, 4546267
PARTS: Order by year & stamping number.
узнать
цену
узнать цену
3
4546544
Защитный кожух
4 CYLINDER, 4546267
PARTS: Order by year & stamping number.
узнать
цену
узнать цену
{modalWnd}