OEM ЗАПЧАСТИ

  info@automotohub.ru   8 (916) 294-84-77
  О Компании   Оплата и Доставка   Помощь   Обратная связь

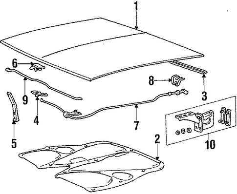
HOOD & COMPONENTS

для Dodge Ram 50 (1986) Custom 2.0L L4 - Gas
Dodge
{modalWnd}