OEM ЗАПЧАСТИ

  info@automotohub.ru   8 (916) 294-84-77
  О Компании   Оплата и Доставка   Помощь   Обратная связь

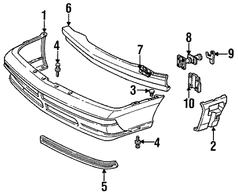
BUMPER & COMPONENTS - FRONT

для Chevrolet Cavalier (1988) Base 2.0L L4 - Gas
Chevrolet
BUMPER & COMPONENTS - FRONT
#кодцена
1
22532551
Деталь BUMPER COVER
1988-90, W/O Z24
узнать
цену
узнать цену
2
22532553
Деталь BUMPER COVER SUPPORT, LEFT
1988-90
узнать
цену
узнать цену
2
22532552
Деталь BUMPER COVER SUPPORT, RIGHT
1988-90
узнать
цену
узнать цену
3
22536642
Деталь BUMPER COVER RETAINER
1988-90, UPPER
узнать
цену
узнать цену
4
5973400
ФИКСАТОР ПАНЕЛИ БАМПЕРА
LOWER
узнать
цену
узнать цену
5
22533580
Деталь STRIP, RIGHT
1988-90
узнать
цену
узнать цену
5
22533581
Деталь STRIP, LEFT
1988-90
узнать
цену
узнать цену
6
22532554
Деталь IMPACT BAR
1988-90
узнать
цену
узнать цену
7
22526575
Деталь ENERGY ABSORBER STUD PLATE
узнать
цену
узнать цену
8
22073246
Деталь ENERGY ABSORBER, RIGHT
1988-90
узнать
цену
узнать цену
9
12337824
Деталь BACKING PLATE SHIM
узнать
цену
узнать цену
10
22535282
Деталь AIR DEFLECTOR
ONE PIECE
узнать
цену
узнать цену
{modalWnd}