| # | код | цена |
|---|---|---|
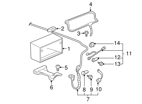
| 2 | 25558374 Деталь HOLD DOWN CLAMP | узнать ценуузнать цену |
| 3 | узнать ценуузнать цену | |
| 4 | 25720111 Деталь VENT TUBE | узнать ценуузнать цену |
| 5 | 25718300 Деталь VENT TUBE GROMMET | узнать ценуузнать цену |
| 6 | 25794667 Деталь BATTERY TRAY | узнать ценуузнать цену |
| 7 | 15861688 Деталь POSITIVE CABLE | узнать ценуузнать цену |
| 8 | 19119011 Деталь POSITIVE CABLE COVER | узнать ценуузнать цену |
| 9 | 19115561 Деталь POSITIVE CABLE BOLT | узнать ценуузнать цену |
| 10 | 19119011 Деталь POSITIVE CABLE COVER | узнать ценуузнать цену |
| 11 | 15861663 Деталь NEGATIVE CABLE | узнать ценуузнать цену |
| 12 | 12160209 Деталь POSITIVE CABLE COVER | узнать ценуузнать цену |
| 13 | 19115561 Деталь POSITIVE CABLE BOLT | узнать ценуузнать цену |
| 14 | узнать ценуузнать цену |