OEM ЗАПЧАСТИ

  info@automotohub.ru   8 (916) 294-84-77
  О Компании   Оплата и Доставка   Помощь   Обратная связь

Масляный картер

для BMW M6 (2016) BASE 4 4l V8 Gas
BMW
Масляный картер
#кодцена
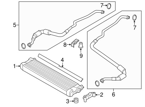
1
17-21-2-284-260
Деталь OIL COOLER
W/M MODEL
узнать
цену
узнать цену
2
17-21-2-284-265
Кронштейн масляного радиатора
W/M MODEL
узнать
цену
узнать цену
3
17-21-1-712-839
Деталь OIL COOLER MOUNT CUSHION
узнать
цену
узнать цену
4
17-11-2-284-299
Деталь OIL COOLER SEAL
W/M MODEL
узнать
цену
узнать цену
5
17-22-2-284-262
Деталь OUTLET HOSE
W/M MODEL
узнать
цену
узнать цену
6
17-22-2-284-261
Деталь INLET HOSE
W/M MODEL
узнать
цену
узнать цену
7
17-22-2-284-079
Деталь INLET HOSE O-RING
W/M MODEL
PARTS: Part included with inlet hose.
узнать
цену
узнать цену
8
17-22-2-283-586
Держатель трубопровода масл.радиатора
4.0 LITER
узнать
цену
узнать цену
9
17-22-2-283-587
Деталь BRACKET SPACER
W/M6
узнать
цену
узнать цену
{modalWnd}