OEM ЗАПЧАСТИ

  info@automotohub.ru   8 (916) 294-84-77
  О Компании   Оплата и Доставка   Помощь   Обратная связь

Воздухозаборник

для Audi Q5 (2012) Premium Plus 3.2L V6 - Gas
Audi
Воздухозаборник
#кодцена
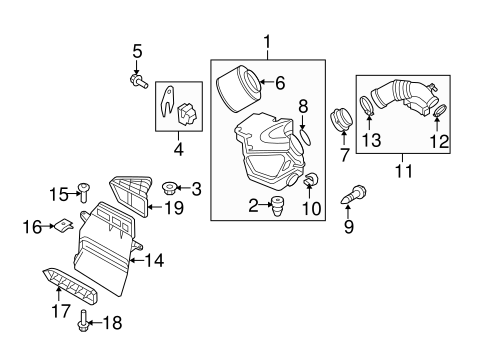
1
8K0-133-837-E
Деталь AIR CLEANER ASSY
3.2 LITER
узнать
цену
узнать цену
2
8K0-129-669
Деталь MOUNT BUSHING
2.0 LITER
узнать
цену
узнать цену
3
8K0-129-697
Колпачок
2.0 LITER
узнать
цену
узнать цену
4
8R0-133-426
Адаптер
W/HYBRID
узнать
цену
узнать цену
5
WHT-005-227
Деталь SPLASH SHIELD BOLT, RIGHT
DISC BRAKES, BOSCH
узнать
цену
узнать цену
6
8K0-133-843
Деталь FILTER ELEMENT
3.2 LITER
PARTS: Part included with air cleaner assembly.
узнать
цену
узнать цену
7
06E-129-638-E
Адаптер
3.2 LITER
узнать
цену
узнать цену
8
N-909-643-01
Прокладка
3.2 LITER
PARTS: Part included with air cleaner assembly.
узнать
цену
узнать цену
9
N-909-184-01
Деталь CONNECTOR SCREW
3.2 LITER
узнать
цену
узнать цену
10
8K0-129-797
Деталь AIR CLEANER ASSY RETAINER CLIP
3.2 LITER
PARTS: Part included with air cleaner assembly.
узнать
цену
узнать цену
11
06E-129-629-S
Деталь INTAKE HOSE
3.2 LITER
узнать
цену
узнать цену
12
N-024-518-4
Деталь INTAKE DUCT CLAMP
2.0 LITER, UPPER, FROM 4/13
PARTS: Part included with intake duct.
узнать
цену
узнать цену
13
N-024-513-3
Деталь INTAKE HOSE CLAMP
3.2 LITER, TO ADAPTER
PARTS: Part included with intake hose.
узнать
цену
узнать цену
14
8R0-129-617-B
Деталь INTAKE DUCT
W/O HYBRID
узнать
цену
узнать цену
15
N-106-332-02
Самонар. винт с плоск. головк.
2.0 LITER
узнать
цену
узнать цену
16
N-015-437-4
Деталь LOWER TRIM CLAMP
1997-99 W/O XENON
узнать
цену
узнать цену
17
8R0-129-054
Сетка
W/HYBRID
узнать
цену
узнать цену
18
N-106-332-02
Самонар. винт с плоск. головк.
2.0 LITER
узнать
цену
узнать цену
19
8R0-129-739
чехол
3.2 LITER
узнать
цену
узнать цену
{modalWnd}