OEM ЗАПЧАСТИ

  info@automotohub.ru   8 (916) 294-84-77
  О Компании   Оплата и Доставка   Помощь   Обратная связь

BULBS - CHASSIS

для Audi TT (2006) BASE 1 8l L4 Gas
Audi
BULBS - CHASSIS
#кодцена
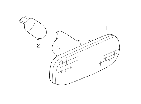
1
8N0-949-127-A
Деталь REPEATER LAMP, RIGHT
узнать
цену
узнать цену
2
N-017-753-11
Лампа накаливания, желтое стекл
BEETLE; REAR SIDE MARKER
узнать
цену
узнать цену
{modalWnd}