OEM ЗАПЧАСТИ

  info@automotohub.ru   8 (916) 294-84-77
  О Компании   Оплата и Доставка   Помощь   Обратная связь

43200-2Y000

ПОДШИПНИК Nissan

43200-2Y000

ПОДШИПНИК Nissan
Nissan
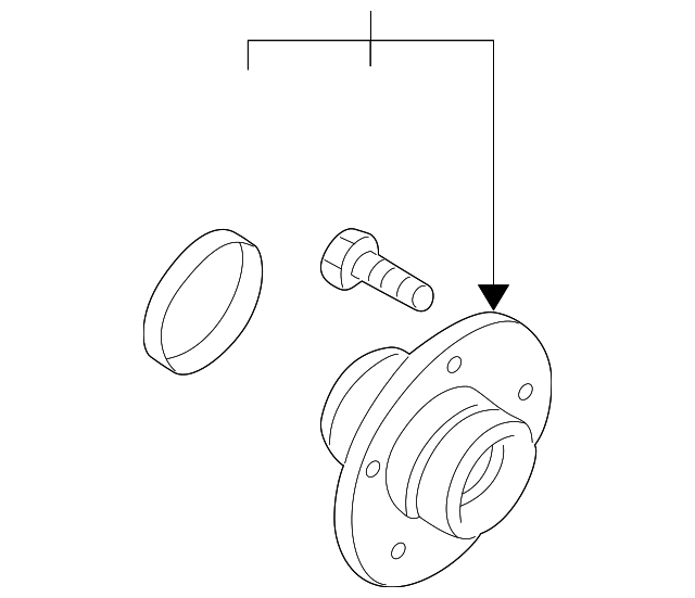
43200-2Y000 Деталь HUB ASSY, LEFT
Номер в каталоге:43200-2Y000, 432002Y000
Описание:ПОДШИПНИК
Описание ориг.:HUB ASSY, LEFT
{modalWnd}