OEM ЗАПЧАСТИ

  info@automotohub.ru   8 (916) 294-84-77
  О Компании   Оплата и Доставка   Помощь   Обратная связь

12310-RAA-A00

Крышка головки цилиндра Honda

12310-RAA-A00

Крышка головки цилиндра Honda
Honda
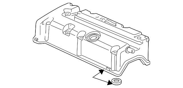
12310-RAA-A00 Деталь COVER, CYLINDER HEAD
Номер в каталоге:12310-RAA-A00, 12310RAAA00
Описание:Крышка головки цилиндра
Описание ориг.:COVER, CYLINDER HEAD
{modalWnd}